
碟式離心機
管式離心機
臥螺離心機
平板離心機
不銹鋼離心機

- 碟式離心機
- 您當前位置:首頁:》
產品展示 :》不銹鋼澄清型GQ75/105/125/150管式離心機-遼寧富一
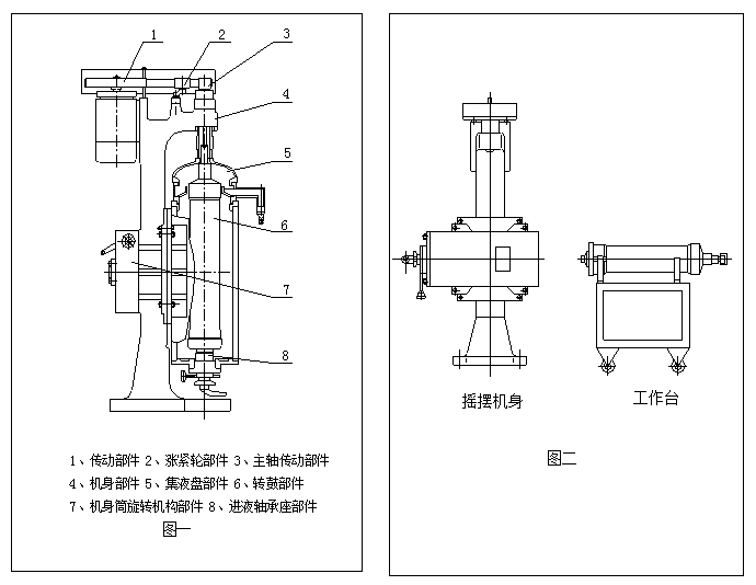
一(yi)、原理
管式(shi)離心機內(nei)轉(zhuan)(zhuan)鼓高速旋轉(zhuan)(zhuan)產(chan)生(sheng)離心力(li)場,依據物料(liao)比重不同在離心力(li)場的(de)作(zuo)用下,使具有不同比重的(de)液(ye)體(ti)與固(gu)體(ti)兩相(xiang)分離。管式(shi)分離機是從底部(bu)進(jin)料(liao),上部(bu)出料(liao),輕液(ye)由液(ye)相(xiang)排出,固(gu)體(ti)物質殘留于設備轉(zhuan)(zhuan)鼓之內(nei),需停機人(ren)工清(qing)理。
二、特點
主要用于分(fen)離(li)各種難分(fen)離(li)的(de)(de)懸(xuan)浮(fu)液,特(te)別適用于濃度低、顆粒細、固液兩相(xiang)比重(zhong)差(cha)甚微的(de)(de)懸(xuan)浮(fu)液的(de)(de)液固分(fen)離(li)。
用戶如需(xu)分離易燃易爆物料(liao),則(ze)在訂貨時提出(chu)采用防爆電機(ji)或密閉(bi)帶排風管的機(ji)型。
三、控(kong)制系(xi)統
PLC自(zi)動控制系統,轉速,進(jin)料時(shi)間、運(yun)行(xing)時(shi)間、排(pai)渣時(shi)間電(dian)流、溫(wen)度等顯(xian)示。中文(wen)語言操作界面。
四(si)、應(ying)用范圍
中(zhong)藥(yao)(植物、動(dong)物提取)分離:分離過(guo)程直接(jie)影響中(zhong)藥(yao)材(含植物提(ti)取(qu)、動物提(ti)取(qu))終端(duan)產品(pin)質量,提(ti)取(qu)液中(zhong)的一(yi)些(xie)多糖、蛋白、果(guo)膠以及一(yi)些(xie)采(cai)用過(guo)濾工藝無法(fa)去除的不溶(rong)性流體雜質,還(huan)有提(ti)取(qu)過(guo)程中(zhong)殘留的細微顆粒等等,都可以應用管式分離機(ji)進行分離。
食品行業:食用醋,調味(wei)品,油(you)品的(de)精(jing)制(zhi),果(guo)汁飲料中的(de)纖維、果(guo)膠、不溶(rong)性蛋白、殘余(yu)果(guo)肉等(deng)雜質的(de)去除,雞精(jing)的(de)分離,色素分離、晶鹽脫(tuo)鹵、制(zhi)糖(tang)脫(tuo)蜜、保健(jian)酒除雜、酵母的(de)分離等(deng)多種物(wu)料。
血(xue)液制品:可(ke)應用于(yu)人、雞、豬 、牛、羊等(deng)多(duo)種血液的血漿與(yu)血細胞的分離(li)。可用于制備血漿(血球)蛋白(bai)(bai)粉、白(bai)(bai)蛋白(bai)(bai)、血紅素(su)、凝血酶、SOD等。
生物制藥:應用于疫苗(miao)制(zhi)備、菌(jun)體(ti)分離。如(ru):狂犬(quan)疫苗(miao)、百白破疫苗(miao)、肺炎疫苗(miao)、大腸桿(gan)菌(jun)、芽孢桿(gan)菌(jun)、孢子菌(jun)、乳酸菌(jun)等。
植物(wu)提取(qu)、動物(wu)提取(qu)、飲品、乳(ru)制(zhi)品分(fen)離、血液制(zhi)品分(fen)離、中藥(yao)提取(qu)、疫苗應用、微生物(wu)發(fa)酵(jiao)、酵(jiao)素(su)(酶(mei))、油水(shui)分(fen)離、油脂分(fen)離、粉體顆(ke)粒分(fen)級、化工處理、石墨(mo)烯等。
五(wu)、主要(yao)技(ji)術參數
轉 鼓 |
通過能(neng)力(li)L/h |
起動(dong)方式 |
||||
直(zhi)徑mm |
高(gao)度mm |
容(rong)積L |
轉速r/min |
分離(li)因數 |
|
|
75 |
450 |
2.2 |
19000 |
15700 |
600 |
全壓 |
105 |
730 |
6 |
16300 |
15620 |
1200 |
全壓 |
125 |
730 |
8 |
15000 |
15750 |
1500 |
全壓 |
150 |
730 |
10 |
14000 |
15700 |
2500 |
全壓 |
六、機器結構(gou)